Grillodur® Light Facades

Grillodur® Light Facades are ideal for buildings where large, light surfaces are required for illumination spaces with glare-free daylight

Suitable for:

  • Custom solutions for the building envelope

Key benefits:

  • Unique fibreglass construction with excellent thermal and photometric performances
  • Provides homogeneous, glare- and shadow-free daylight
  • Durable and shockproof material that is ideal for sports halls
  • Great alternative to glass constructions due to light weight
Grillodur façade school educational building
See gallery

Related documents and links

Product details

  • In short
    Grillodur® is characterised by its light weight, excellent thermal performance, mechanical strength and chemical resistance. The system provides glare- and shadow-free lighting that ensures optimum illumination at all times. 
    • Various construction variants enable the greatest possible planning freedom both in the choice of colour and in the integration of the facade daylight system. 
    • Aluminium door and window systems, adapted to the respective Grillodur® facade construction, are part of the delivery range.
    • The extremely durable but light-weight Grillodur® facade system is particularly suited for public and educational buildings as well as sports facilities.
    • From design assistance to installation, the system is always offered as an end-to-end solution.
     

    Other Grillodur® systems

    Grillodur Special Constructions
    Grillodur Continuous Rooflights
    Grillodur facade in blue transparent

    Grillodur facade in blue transparent

  • Product features
    Grillodur® is a composite panel comprised of at least two semi-transparent fibreglass sheets with a spun glass insulation core. The fibreglass sheets are adhered to a self-bearing aluminium frame system on the exterior and interior side. 

    The single elements are prefabricated with aluminium profiles in a distance of 300 mm to a maximum element width of 2000 mm and with a maximum standard element height up to 6000 mm. The connecting aluminium T-profiles and exterior cover strips come with a visible profile face width of 60 mm.
    Grillodur illustration panel construction
    1) Aluminium profile   2) Fibre glass sheet
    3) Spun glass insulation
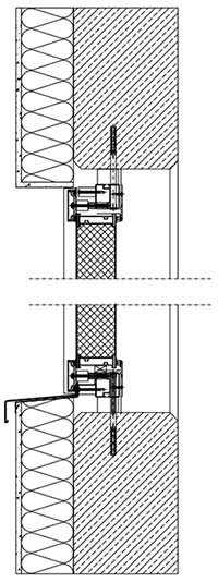
    Detail drawing Grillodur façade horizontal section

    Detail drawing Grillodur façade horizontal section

    1) Exterior  2) Inteior  

     

    Detail drawing Grillodur facade vertical

  • Glazing performance

    Different combinations of glazing colour, fibreglass sheet thickness and density of the spun glass insulation core can deliver a wide range of daylighting and thermal performance.

    Panel parameters:

    • Glazing types: 2-, 3- and 4-skinned structures
    • Four standard colours: natural, blue, white and grey translucent
    • Fibreglass sheet thicknesses from 1.1 mm to 2.0 mm
    • Overall panel thickness ≥ 70 mm

    Performances depending on panel composition contain:

    • U-value of the glazing down to 0.9 W/m²K
    • Total energy transmission up to 21%
    • Light transmission from 76% to 13%
    • Airborne sound insulation up to 36 dB

    Detail drawing og glazing type

  • Performance
    The energy efficient Grillodur® facade system is ideal for applications where large areas of homogeneous, glare- and shadow-free daylight are required.
    • The mechanical strength is ballproof and contains the highest classification for ball sports (hockey) according to DIN 18032-3
    • Grillodur® is fall-through proof in accordance with GS BAU 18
    • Chemical resistance include high resistance to kerosene, coolants, lubricants, acids, alkaline solutions and others
    • Fast and easy installation due to prefabrication
    • Thanks to the light weight construction of 10 kg/m², the system is particularly suitable for refurbishment projects
  • Comfort Ventilation

    Optimise the indoor climate with operable windows

    • Aluminium door and window systems, adapted to the respective Grillodur® facade construction, are part of the delivery range
    • The integration of operable aluminium windows allows for daily comfort ventilation
    windows and doors in Grillodur facade
    Windows and doors in Grillodur facade